Apple terus mencari kemungkinan untuk membuat iPhone atau iPad dengan tampilan fleksibel, termasuk satu konsep di mana seluruh panel tampilan dan layar dapat dilipat dalam berbagai cara tergantung keinginan pengguna, tanpa menghancurkan atau menghancurkan.
Diterbitkan oleh Kantor Paten dan Merek Dagang AS pada hari Kamis, aplikasi paten untuk “Penutup dan layar yang dapat dilipat untuk perangkat elektronik” menunjukkan cara layar dapat dilipat, daripada bagaimana itu bisa diterapkan dalam bentuk perangkat seluler. Konsep ini masih dapat digunakan dengan smartphone dan tablet, bersama dengan mekanisme berengsel, tetapi aplikasi berjalan sedikit lebih jauh dari itu.
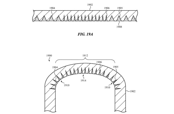
Deskripsi pada dasarnya menjelaskan penggunaan lapisan tampilan dan lapisan penutup, dan tergantung pada variasi, substrat tembus cahaya, dan bahan pengisi.
Dalam bentuk dasarnya, yang terdiri dari penutup dan lapisan tampilan, ada daerah yang dapat dilipat didefinisikan yang dilambangkan dengan penutup. Daerah yang dapat dilipat dapat diciptakan untuk bertahan stres tekan sambil dilipat, sementara yang lain bisa memiliki tekanan yang sama ketika dilipat, bersama dengan titik tekan tegangan dalam konfigurasi lain. Stres dapat dirasakan baik di dalam maupun di luar lipatan, dengan cara yang berbeda.
Menurut pengarsipan, ini dapat menghasilkan tampilan tipis yang dilipat dengan berbagai cara, seperti melipat setengah untuk menutup seperti buku, atau lipatan zig-zag seperti brosur untuk hanya menampilkan sepertiga layar saat menyembunyikan sisanya, atau bahkan untuk menggulung layar itu sendiri.

Untuk mengatasi tegangan tekan, lapisan-lapisan akan diperlakukan dengan menghilangkan material dari bagian dalam alur, diganti dengan bahan pengisi transparan untuk menjaga permukaan tetap rata. Ketika dikompres atau diregangkan dengan tikungan, layar akan lebih mudah melenturkan pada bagian yang lebih tipis, sementara bahan kompresi mendukung bagian tampilan yang tipis.
Untuk penutupnya, ada sedikit kebutuhan untuk bahan pengisi, tetapi keduanya dapat dipengaruhi oleh tekanan lipat, serta mendikte di mana lipatan bisa. Dalam satu contoh, penutup dapat terdiri dari beberapa panel yang terpisah selama lipatan, dan sebagai produk sampingan yang membuatnya lebih mudah untuk dilipat pada titik-titik tersebut dibandingkan dengan area yang lebih padat, dapat membantu mengarahkan lipatan untuk mengambil tempat di pabrik yang ideal. posisi.

Apple telah mengeksplorasi konsep tampilan yang dapat dilipat untuk beberapa waktu, dan telah menyarankan penggunaan elemen fleksibel untuk memerangi stres dalam tampilan di pengajuan lain dari Juli .
Satu pengajuan dari Oktober 2017 muncul pada saat yang sama sebagai rumor mengklaim Apple berkolaborasi dengan LG untuk memproduksi iPhone OLED fleksibel pada tahun 2020. Paten terkait lainnya yang diberikan pada November 2016 menyarankan penggunaan engsel dan panel OLED fleksibel yang didukung logam untuk menghasilkan smartphone yang dapat dilipat yang dapat klip ke pakaian untuk penyimpanan ketika tidak digunakan.

Apple juga banyak berinvestasi di MicroLED , teknologi panel layar menggunakan LED kecil pada selembar kertas, yang memiliki potensi untuk digunakan dalam situasi tampilan yang fleksibel.
Sementara Apple secara teratur mengajukan permohonan paten dengan USPTO, publikasi aplikasi atau pemberian paten bukanlah konfirmasi bahwa itu akan muncul di masa depan produk Apple. Yang sedang dikatakan, jumlah laporan paten dan aplikasi di lapangan dan eksplorasi konsep oleh pesaing Apple menunjukkan Apple mungkin berencana untuk memproduksi perangkat semacam itu di beberapa titik di masa depan.
Sumber https://indoint.com/

0 comments:
Post a Comment